修车大队楼凤论坛最新公告 ,广州桑拿网蒲友论坛最新活动,2025小姐威客信息最新动态,栖凤阁论坛最新动态

咨询热线0371-6777 2727

当前位置:
  1. 首页
  2. >
  3. 新闻中心
  4. >
  5. 新闻正文

了解制砂机系列相关设备从了解原理开始

作者:田慧慧 发布时间:2012-04-14 09:24:57 更新时间:2018-05-07 15:30:42
上一篇 已经是最后一篇了

制砂机系列产品种类繁多,如果想使他们搭配起来达到理想制砂效果,就需要对其原理有一定的了解,下面以自定中心振动筛为例来说下其原理及工作过程。

制砂机

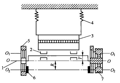
(2)自定中心振动筛的工作过程及工作原理与前述振动筛基本相同。它的主要特点是皮带轮的中心位置不变,自定中心原理如图所示。

自定义中心振动筛工作原理图

自定义中心振动筛工作原理

1-主轴 2-轴承 3-筛框 4-弹簧 5-偏重轮 6-配重 7-皮带轮

自定中心振动筛工作时,筛子在偏心轴作用下做上、下振动,当偏心轴的偏心距向上运动时筛子向上运动,同时又产生向上的惯性力,偏心轴的偏心距向下运动时筛子向下运动,同时又产生向下的惯性力,使筛子整体产生振动。为使振动筛保持平稳,当偏心距向上运动时,偏重物向下运动;偏心距向下运动时,偏重物向上运动,二者所产生的惯性力大小相等、方向相反,筛子上、下运动的距离等于偏心轴偏心距的大小。此时偏心传动轴上的槽带轮的空间位置不变,即自定中心。当上述平衡不能达到时,可调整偏重物径向位置就可保持槽带轮的空间位置不变,达到自定中心的目的。

自定中心振动筛定,振幅比惯性振动筛的振幅大,筛分效率可达80%以上中心振动筛在选矿中校广泛采用。

除上述筛分机械外,还有重型振动筛、直线筛、共振筛、弧形筛、细筛等多种。

各种筛分机械均毫不例外地固定有筛面,筛面有两种,一种是金属丝织钢筛面,另一种是金属板钻(冲)孔筛面。筛面形式如图下图所示。

筛面形式图片

其他相关设备如制砂机、颚式破碎机、洗砂机等相关设备也需要了解其相关的工作原理及工作的过程。 

免费获取
  • 建厂方案
  • 投资分析
  • 环保政策分析
+ 在线留言

如果您对我们的产品有任何需求、建议和意见,请您留言! 看到信息后会第一时间给您回复。谢谢!