修车大队楼凤论坛最新公告 ,广州桑拿网蒲友论坛最新活动,2025小姐威客信息最新动态,栖凤阁论坛最新动态

咨询热线0371-6777 2727

当前位置:
  1. 首页
  2. >
  3. 新闻中心
  4. >
  5. 新闻正文

制砂机系列相关设备自定定中心振动筛

作者:田慧慧 发布时间:2012-04-14 09:06:32 更新时间:2020-05-23 10:45:26
上一篇 已经是最后一篇了

在制砂的生产过程中不仅仅只是需要制砂机这一个产品,还需要其他的配套产品相互配合。这样才能实现。下面就来介绍下其中一个配套产品,自定义中心振动筛。

振动筛

振动筛价格

自定中心振动筛概述

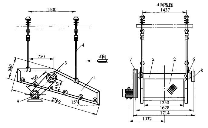
白定中心振动筛是在振动筛的基础上克服了某些不足,而改进的一种比较完善的振动筛。自定中心振动筛工作时筛子做高速振动,但槽带轮的空间位置不变,因此称为自定中心振动筛,白定中心振动筛如下所示。

白定中心振动筛图片

自定义中心振动筛图

1-筛框 2-筛网  3-振动器 4-吊杆 5-主轴 6-轴承座 7-皮带轮 8-飞轮 9-电机

自定中心振动筛的构造:自定中心振动筛主要由筛框、筛面、偏重物、偏心传动轴、轴承、弹簧等部件构成。

自定中心振动筛的筛面有一层和两层两种,安装方式也有吊式和座式两种,吊式通过弹簧悬吊在粱上,座式通过弹簧座在基础上,目前以悬吊式应用较为广泛。

自定中心中心振动筛是由带有偏心性质的振动器使筛子产生振动的。

自定中心振动的特点如下:

1)筛上物料在振动作用下能达到很好的松散和分层;

2)该振动筛的配重质量大小可以调节,可根据生产要求调节筛子振幅大小;

3)当给矿量发生变化时,振幅也变化。给矿量少时振幅加大振动加剧;给矿量多时振幅变小。给矿量的变化将影响“动力平衡”,从而使皮带轮中心产生一些振动;

4)适用于中、细粒筛分而不适应粗物料筛分。

温馨提示 :矿用振动筛可分为:重型筛,自定中心振动筛,椭圆振动筛,脱水筛,圆振筛,香蕉筛,直线振动筛等。

相关文章

圆振动筛,震动筛,振动筛厂家,振动筛生产厂家

免费获取
  • 建厂方案
  • 投资分析
  • 环保政策分析
+ 在线留言

如果您对我们的产品有任何需求、建议和意见,请您留言! 看到信息后会第一时间给您回复。谢谢!