新型冲击式破碎机传动轴装置结构如图下图所示,其主要特点如下:

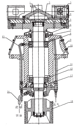
包括1传动轴2 胀套 3导料板 4飞轮 5边衬板 6防尘罩 7密封圈 8圆柱孔调心滚子轴承 9轴承座衬板 10轴承座11出气系统 12圆柱孔调心滚子轴承 13推力调心滚子轴承14皮带轮 15进油系统 16回油系统
传动轴装置总图
传动轴与飞轮连接结构在高速旋转工作中的合理性:如下图所示连接结构经过了a、b、c 三个阶段的改进。
在a阶段选择锥形轴伸的过盈联接,通过平键与锥度来保证两者紧密配合、 同步旋转。但在实际加工与安装时,却容易碰到加工精度与安装条件的限制。锥形轴伸要求与轴孔配合表面接触均匀,着色研合检验接触率不低于70%,所以,安装要求热胀安装或油压安装,这两种条件在石场一般难以提供。而且,键槽容易在轴与飞轮安装面贴合不足时,产生应力集中,率先疲劳撕裂。

于是 进行了b阶段的改进-采用胀套及圆柱形轴伸联接。 胀套装拆或调整轴与飞轮的相对位置方便,解决了加工精度与安装条件的问题;承载能力高,可以避免a 阶段中键槽产生应力集中的问题?;鼓芷鸬矫芊獾淖饔?同时由于胀套的工作特性-在过载的情况下将自动打滑松开轴与飞轮的联接,提供过载?;ぁ5? b阶段由于轴肩支撑面较小,影响了飞轮旋转的稳定性。

继而确立了c 阶段的连接设计:加粗轴径,以提高轴的刚度:利用轴套加大轴肩支撑面,提高飞轮旋转稳定性。

破碎机在石场的连续使用,证实了C 设计的合理、 安全、有效性。
2018-11-01
2018-04-24